11
2025-09
中嘉检测官网全新上线规范自动查新服务, 免费开放!
精准试验 服务至上 中嘉检测 创新未来


助力工程检测

高效升级



2025年9月5日,中嘉(广东)工程检测有限公司(以下简称“中嘉检测”)官方网站正式上线“检测规范自动查新服务”!该服务面向全行业免费开放,致力于通过信息化手段提升规范管理效率,推动检测工作向标准化、精细化和智能化迈进。

中嘉检测自成立以来,中嘉检测始终坚守“高效优质的服务、科学精准的检测、公正客观的态度”经营理念,践行“守正、精准、满意、科学”核心价值观,深耕工程质量检测领域,持续将技术创新作为推动企业发展和行业进步的重要途径。此次上线的规范自动查新服务,是公司推进信息化研发与技术革新的最新应用成果。它旨在解决行业中因检测规范数量庞大而导致的人工查新费时费力、信息易错漏等核心痛点,致力于为用户提供一套系统化、自动化且可持续的规范管理工具,为行业高质量发展提供助力。

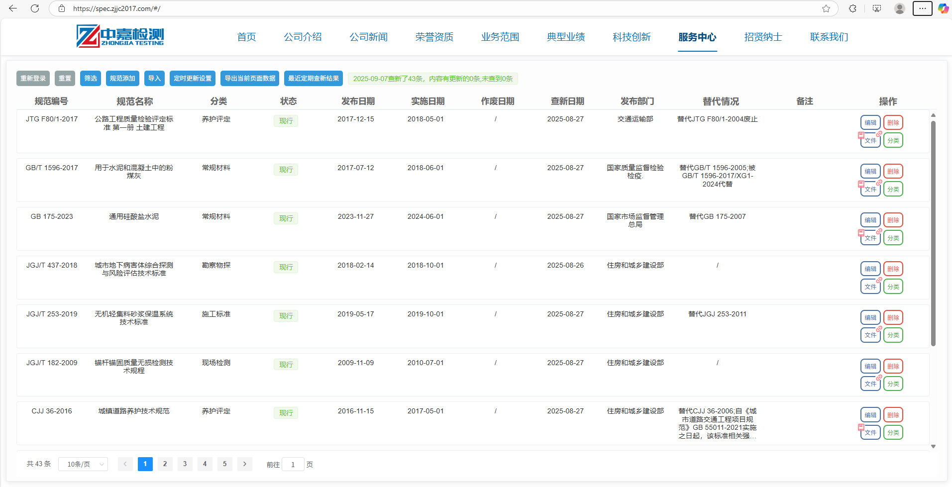
官网地址https://www.zjjc2017.com点击网站右侧的绿色入口即可进入该服务。

该服务以“便捷、精准、共享”为核心设计原则,打造了一站式全流程规范管理体系,功能细节尽显贴心:

1、个性化规范库管理

支持账号注册登录,每个用户都可以建立自己的规范库,支持单条添加、批量添加和批量导入,搭配模糊搜索快速定位目标规范,轻松构建专属规范集合。

2、状态细节全掌握

每一条规范均详细展示关键信息:不仅标注现行、即将实施、作废、废止、即将作废等状态,还清晰呈现发布日期、实施日期、作废日期、查新日期、发布部门及替代情况等关键信息,让用户对规范生命周期了如指掌。此外,支持自定义分类、添加备注,方便按项目、领域对规范进行精细化管理,也可随时删除无用规范条目,保持库内整洁。

3、资源共享与协作

用户可上传规范电子文件或添加在线查看链接,实现规范的在线查看。所有用户上传的电子版文件与在线链接均实现全平台共享,只要有用户上传,其他用户即可免费查看、下载,且上传资源会标注可爱图标,方便快速识别,打破信息壁垒,实现行业资源互通。

4、自动查新与提醒

用户可自由设定规范更新周期(以天为单位),系统将按预设频率自动对接工标网等权威平台完成查新,并清晰提示“有变化的规范数量”。用户点击即可查看具体更新内容,所有规范信息将自动同步最新状态,彻底告别手动逐条核对的方式。查新结果自动汇总呈现,极大节省时间与人力,信息精准可靠。

5、成果管理更灵活

支持一键导出当前页面规范数据,便于质量管理体系查新记录整理和本地备份等,满足多样化数据管理需求。

在工程检测行业,规范的时效性与准确性直接关系到检测结果的可靠性,进而影响工程质量安全。然而,传统的规范查新方式往往需要耗费大量时间与精力,且容易出现信息滞后、错误、遗漏等问题。中嘉检测本次推出的规范自动查新服务,功能全面、全程免费,可助力行业高效、精准的管理规范。未来,中嘉检测将继续优化服务功能,探索更先进的智能化检测解决方案,与行业伙伴携手,共同推动工程质量检测行业的专业化、数字化发展,进一步提升行业整体检测水平与服务质量。

目前,中嘉检测规范自动查新服务已在官网正式上线,欢迎广大工程检测同行登录体验,解锁高效规范管理新方式!

如有疑问,敬请拨打技术支持电话15622248114,我们竭诚为您服务。



推荐阅读